Hoşgeldiniz
Giriş Yap
Üye Ol
ARA
Sepetiniz
KATEGORİLER
SYM İNDİRİMLİ ÜRÜNLER
PUTOLINE YAĞ
MOTOR YAĞLARI
ŞANZIMAN YAĞLARI
AMORTİSÖR YAĞLARI
ZİNCİR VE TEMİZLİK SPREYLERİ
FREN VE DEBRİYAJ HİDROLİK SIVILARI
FİLTRE BAKIM ÜRÜNLERİ
SOĞUTMA SIVILARI VE ANTİFİRİZ ÜRÜNLERİ
TEMİZLİK VE BAKIM ÜRÜNLERİ
SYM AKSESUAR
AXOR KASK
BRUTALE
STRIKER
APEX
RAGE
STREET
X-CROSS
SABER
HUNTER
AXOR AKSESUAR
GMS
SYM YEDEK PARÇA
PUTOLINE YAĞ
AXOR KASK
SYM AKSESUAR
EFSANE KASIM İNDİRİMLERİ
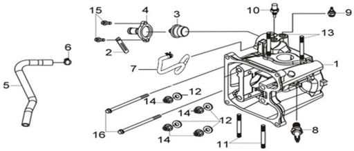
E01 SILINDIR KAPAK UST KAFA KAPAGI
E03 SILINDIR KAPAK UST KAFA
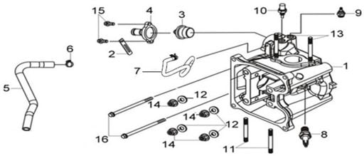
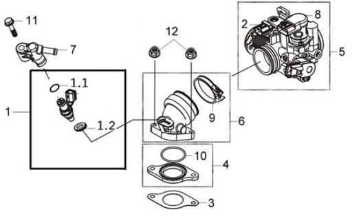
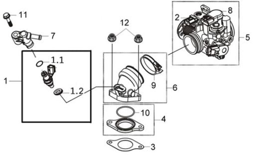
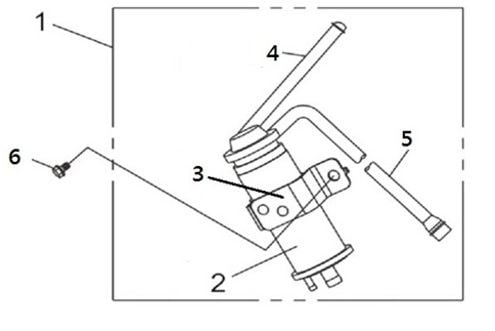
E04 INJEKTOR(ENJEKSION)&GIRIS BORU
E06 SLND UST KAFA YAN TARAF(KISIM)KAPAK
E07 SILINDIR
E08 KRANK MILI(SAFT)
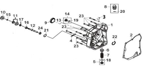
E10 KRANK KUTUSU KAPAK SAG
E13 SANZIMAN KAPAGI&DRIVE MILI(SAFT)
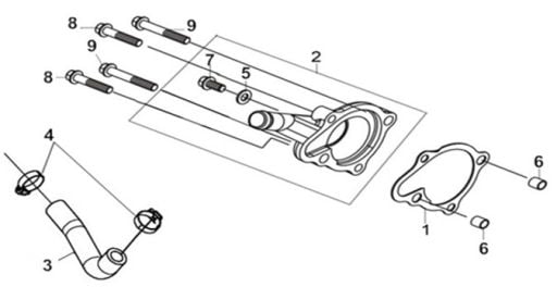
E14 SU POMPASI&KAPAK
E15 MANYETO&STATOR&MARS
E17 KRANK KUTUSU SOL
E18 KRANK KUTUSU KAPAK SOL
E19 A I S V HAVA KAPATMA VALFI UNIT
E21 HAVA FILTRESI
E22 EGSOZ
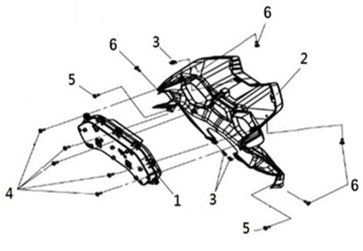
F01 ON GOGUS GRENAJI&ON FAR&SINYAL
F02 ON HAVA ALT IZGARA GRENAJ
F03 SIPERLIK&RUZGARLIK
F04 KM SAAT GOSTERGE&GRENAJI
F05 AYNA&GIDON MUHAFAZA GRENAJI
F06 GIDON&KUMANDA&TEL GRUBU
F07 FREN ON&ARKA
F08 JANT ON
F09 ON MASA&ON AMORTISOR
F10 CAMURLUK ON
F12 JANT ARKA&AMORTISOR
F13 ON UST GRENAJ IC(TARAF) KUTU&ALTI KAPAK
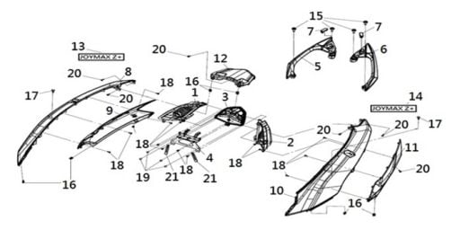
F14 CAMURLUK ARKA&KUYRUK
F15 SELE(KOLTUK)
F17 ARKA MARSBIYEL&SINYAL&ARKA STOP&TUTAMAK&PORTBAGAJ
F18 MARSBIYEL ALT&SOL&SAG TARAF(KISIM)KAPAK
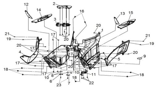
F19 ZEMIN PANEL&AYAK BASMA &YAN KAPAK
F20 RADYATOR
F21 YAKIT DEPOSU&POMPASI&SAMANDIRA
F22 SEHPA ORTA ANA&M.ASKISI
F24 SASE GOVDESI&KAFA DEMIRI
F25 HAVA EMISYON HAVALNDR TUPU KUTU SET
F26 AKU&ELEKTRIK SISTEM PARCALARI
SYM
FİLTRELE
SIRALA
Stoktakiler
Toplam 144 ürün
Önerilen sıralama
En düşük fiyat
En yüksek fiyat
Çok değerlendirilenler
Yüksek puanlılar
İndirim oranı
Yeni eklenenler
SYM
SYM_HORTUM RADYATOR TERMOSTAT TUPU HORTUM BORU_(1951A-HMA-000)_ADET MOD.OZEL_JMXZ+ORT_
222,71 TL
SYM
SYM_RADYATOR MUSUR TERMOSTAT MUSURU ADET DRAGON_MMBCU_JMXZ+25T_JYMZ25-&-HD2E2_JYMXA250_GTSE25O_MAX46
%35
1.320,42 TL
858,27 TL
SYM
SYM_KATALIZOR VALFI ADET JMXZ+25T_-&-CRMS3_
997,36 TL
SYM
SYM_KRANK KUTUSU KAPAGI_(11330-L9M-000)_SAG(R.)_ADET JMXZ+25T_-&-CRMS3_
6.031,22 TL
SYM
SYM_VARYATOR DIS ROTOR TAMBUR ADET JMXZ+25T_-&-CRMS3_
6.061,59 TL
SYM
SYM_STATOR KOMP ADET JMXZ+25T_JMXZ+25T-&-CRMS3_MIO100
6.631,57 TL
SYM
SYM_KRANK KUTUSU_(KARTER)_(11200-L3A-000)_ON SOL(L.)_ADET JMXZ+25T_-&-CRMS3_
14.003,46 TL
SYM
JOYMAX Z+ VARYATOR DIŞ KORUMA KAPAK
%15
2.683,09 TL
2.280,62 TL
SYM
SYM_YAKIT KATALIZOR AISV HAVA FILTRESI KAPATMA VALFI ADET MOD.OZEL_CRMS3_
3.364,86 TL
SYM
SYM_YAKIT KATALIZOR HAVA FILTRESI KAPATMA VALFI ADET MOD.OZEL_CRMS3_
112,68 TL
SYM
SYM_HAVA FILTRESI KUTUSU KAPAGI ADET MOD.OZEL_CRMS3_
3.315,13 TL
SYM
SYM_BRAKETI GRENAJ TA BRAKETI BRAKETI5 SOL(L.)_ADET MOD.OZEL_JMXZ+25_
153,61 TL
SYM
SYM_BRAKETI GRENAJ TA BRAKETI BRAKETI5 SAG(R.)_ADET MOD.OZEL_JMXZ+25_
154,49 TL
SYM
SYM_GRENAJ ONDEKR KAPAGI BURUN ALT SAG(R.)_ADET MOD.OZEL_JMXZ+25_
293,43 TL
SYM
SYM_AYDINLATMA ON FAR_(33100-L9W-000)_ADET MOD.OZEL_JMXZ+25T_
36.079,51 TL
SYM
SYM_GRENAJ ON GOHUS KAPAGI ORTA KAPAGI SAG(R.)_ADET MOD.OZEL_JMXZ+25_
526,49 TL
SYM
SYM_GRENAJ ON GOHUS ALT KISIM FR KAPAGI IW_GRI_IW ADET MOD.OZEL_JMXZ+25T_
3.607,88 TL
SYM
SYM_GRENAJ ON GOHUS ALT KISIM FR KAPAGI IX_GRI_IX ADET MOD.OZEL_JMXZ+25T_
3.715,65 TL
SYM
SYM_GRENAJ ON GOHUS ALT KISIM FR KAPAGI JH_SIYAH_MAT_JH ADET MOD.OZEL_JMXZ+25_
4.088,89 TL
SYM
SYM_GRENAJ ON GOHUS ALT KISIM FR KAPAGI QU_BEYAZ_QU-WH-300P ADET MOD.OZEL_JMXZ+25_
4.181,74 TL
SYM
SYM_GRENAJ ONALTI IZGARA FR UNDER SPOILER ADET JMXZ+25T_JYMZ25-&-
824,53 TL
SYM
SYM_GIDON KUMANDA KUTUK UNITE KABLOLU LH/TARAF SOL(L.)_ADET JMXZ+25T_-&-CRMS3_
5.152,27 TL
SYM
SYM_GIDON KUMANDA KUTUK SAG(R.)_ADET JMXZ+25T_JYMZ25-&-JYMXA250_
2.476,22 TL
SYM
SYM_GIDON DIREKSION BORUSU CIPLAK ADET MOD.OZEL_JMXZ+ORT_
3.183,97 TL
SYM
SYM_BRAKETI FREN ABS HIDROLIK DEVRE UNITESI BRAKETI ADET MOD.OZEL_JMXZ+ORT_
825,26 TL
SYM
SYM_FREN ABS HIDROLIK DEVRE UNITESI_(BOSCH)_ADET JMXZ+25T_-&-CRMS3_
35.510,85 TL
SYM
SYM_FREN HORTUMU ON OZEL CELIK SYM A_(45126-L4A-000)_ON SOL(L.)_ADET JMXZ+25T_JYMZ25-&-
1.732,39 TL
SYM
SYM_FREN HORTUMU ON OZEL CELIK SYM B_(45127-L3E-000-A1)_ON SOL(L.)_ADET JMXZ+25T_JYMZ25-&-
3.668,56 TL
SYM
SYM_FREN ON ALT MERKEZ CALIPER KOMP ON KB_SIYAH_MET_KB ADET JMXZ+25T_-&-CRMS3_
12.272,40 TL
SYM
SYM_ON DUZEN AMORTISOR BORU_(51400-L3A-000)_ON SAG(R.)_KB_SIYAH_MET_KB ADET JMXZ+25T_-&-CRMS3_
15.226,61 TL
SYM
SYM_ON DUZEN AMORTISOR BORU_(51500-L3A-000)_ON SOL(L.)_KB_SIYAH_MET_KB ADET JMXZ+25T_-&-CRMS3_
15.226,61 TL
SYM
SYM_CAMURLUK ON TYPE14 ON T11_MATMAVI_T11-GY-7450U ADET MOD.OZEL_JMXZ+25T_
3.345,50 TL
SYM
SYM JOYMAX Z + NARDO GRİ ÖN ÇAMURLUK
2.911,21 TL
SYM
SYM_GRENAJ KABIN ON IC TORPIDO KONTAK BAGLANAN ARKA/ON ADET JMXZ+25T_JYMZ25-&-
1.445,75 TL
SYM
SYM_SISSY BAR SIRT DAYANMA SUNGERI ADET JMXZ+25T_JMXZ+ORT-&-
4.232,82 TL
SYM
SYM_BRAKETI SELE AMORTISOR SELE BAGLAMA BRAKETI_(74481-HMA-000)_ADET JMXZ+25T_-&-CRMS3_
237,23 TL
SYM
SYM_LOGO STICKER BODY KAPAK5 ARKA SOL(L.)_ADET MOD.OZEL_JMXZ+25_
2.554,57 TL
SYM
SYM_LOGO STICKER BODY KAPAK5 ARKA SAG(R.)_ADET MOD.OZEL_JMXZ+25_
2.329,66 TL
SYM
SYM_GRENAJ UST MARSBIYEL ARKA SOL(L.)_IW_GRI_IW ADET MOD.OZEL_JMXZ+25T_
1.623,23 TL
SYM
SYM_GRENAJ UST MARSBIYEL ARKA SAG(R.)_IW_GRI_IW ADET MOD.OZEL_JMXZ+25T_
1.430,89 TL
SYM
SYM_GRENAJ UST MARSBIYEL ARKA SOL(L.)_IX_GRI_IX ADET MOD.OZEL_JMXZ+25_
1.593,30 TL
SYM
SYM_GRENAJ UST MARSBIYEL ARKA SAG(R.)_IX_GRI_IX ADET MOD.OZEL_JMXZ+25T_
1.566,45 TL
SYM
SYM JOYMAX Z + SELE ALTI SOL GRENAJ MAT SİYAH
%40
2.113,55 TL
1.268,13 TL
SYM
SYM JOYMAZ Z+ SELE ALTI SAĞ GRENAJ MAT SİYAH
1.911,53 TL
SYM
SYM_GRENAJ UST MARSBIYEL ARKA SOL(L.)_QU_BEYAZ_QU-WH-300P ADET MOD.OZEL_JMXZ+25_
2.701,57 TL
SYM
SYM_GRENAJ UST MARSBIYEL ARKA SAG(R.)_QU_BEYAZ_QU-WH-300P ADET MOD.OZEL_JMXZ+25_
2.319,09 TL
SYM
SYM_GRENAJ YAN TARAF KAPAGI SOL(L.)_ADET JMXZ+25T_JYMZ25-&-
1.208,18 TL
SYM
SYM_GRENAJ SURUCU AYAKBASMA ZEMIN PANEL_(64310-L9M-001)_ADET JMXZ+25T_JYMZ25-&-
1.851,22 TL
SYM
SYM_RADYATOR KOMPLE ADET JMXZ+25T_-&-CRMS3_
8.554,10 TL
SYM
SYM_TAKOZ SEHPA TAKOZU ORTA_(50505-H3A-000)_ADET_(PKT5)_JMXZ+25T_-&-JYMXA250_CRMSO_
71,30 TL
SYM
SYM_MAFSAL ASKI GERME CUBUGUMAFSAL ASKI SALINCAK ISTINAT KOLU ADET MOD.OZEL_JMXZ+ORT_
1.065,14 TL
SYM
SYM_YAKIT EMISYON HAVALANDIRMA TUPU KUTUSU ADET JMXZ+25T_-&-CRMS3_
2.187,05 TL
SYM
SYM_ENJK FUEL ENJKSIONN ENJEKTOR_(06414-LEF-000)_A_SET JMXZ+25T_JYMZ25-&-JYMX25_CRM25_WLF25_
5.486,77 TL
SYM
SYM_ORINGPUL ENJK ECU VALF ADET_(PKT5)_JMXZ+25T_JYMZ25-&-JYMXA250_CRM25_
74,38 TL
SYM
SYM_CONTASI SILINDIR UST KAPAGI CONTASI ADET JMXZ+25T_JYMZ25-&-
1.181,33 TL
SYM
SYM_KRANK TEK RULMAN DAHIL ADET MOD.OZEL_JMXZ+ORT_
21.104,67 TL
SYM
SYM_TAPA YAG DOLUM KAPAMA&ACMA LI TAPASI ADET JMXZ+25T_JYMZ25-&-
96,83 TL
SYM
SYM_RADYATOR SU POMPASI DEVIRDAIM MILI ADET JMXZ+25T_JYMZ25-&-
694,98 TL
SYM
SYM_SANZIMAN ARA DISLISI COUNTER SHAFT ADET MOD.OZEL_JMXZ+25_
2.764,51 TL
SYM
SYM_DISLI SANZIMAN AKS DISLISI FINAL GEAR 41T ADET MOD.OZEL_JMXZ+25_
2.140,40 TL
1
2
3
IdeaSoft
®
|
Akıllı E-Ticaret paketleri
ile hazırlanmıştır.